HMBCloud怎么样?HMBCloud半月湾是一家成立于2020年的主机商,主要提供海外VPS服务,之前我们对其美国VPS和香港VPS做过测评,表现还是不错的,这里我们测评下半月湾的韩国VPS(韩国首尔机房),看看效果怎么样。
hmbcloud半月湾官网:https://hmbcloud.com
半月湾的韩国VPS拥有回程CN2线路,在一定程度上有一定的优势。这里我们就通过延迟、路由线路、价格套餐等多个方面对半月湾的韩国VPS进行测评介绍。
先看看我本地Ping的延迟效果,如下所示:
可以看到我本地延迟在108ms左右,这个延迟对于韩国VPS来说不算太好,不过网络还算比较稳定,基本没有丢包的情况。
接下来我们再看看三网Ping的延迟效果,如下所示:
三网全国Ping的平均延迟在72ms左右,其中联通延迟是最低的在65ms左右,其次是电信网络延迟在75.7ms,最后是移动网络延迟在93ms左右。
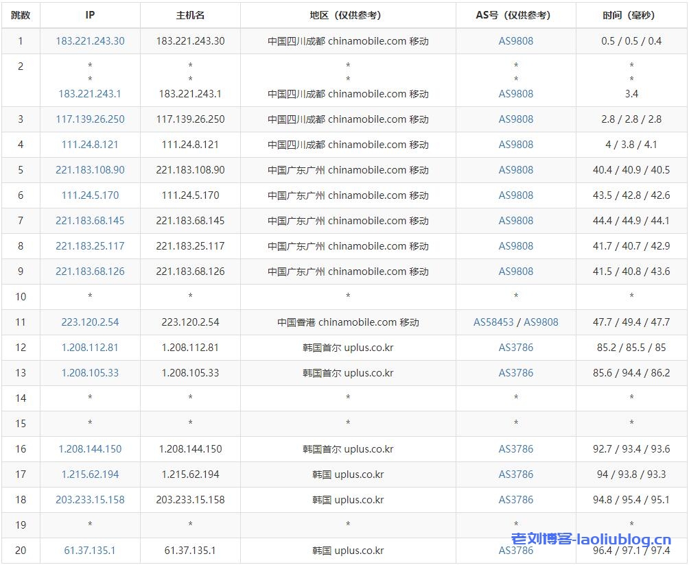
接下来我们看看这款韩国VPS三网的去程路由线路测试。
电信网络去程是从北京网口出去,然后直连韩国首尔。
联通网络去程走的是AS4837线路,同样也是从北京网口出去后直连韩国首尔。
移动网络去程就不是那么好了,是从广州网口出去后,经过香港,然后再达到韩国首尔机房。
半月湾韩国VPS的电信回程线路走的是59.43的CN2,而其他网络都是直连的。
半月湾韩国VPS最低价格是29.99美元/年,看起来价格是比较便宜的,不过他们家的韩国VPS是NAT共享IP的,说起来算不上真正的韩国VPS。
相比起半月湾的韩国VPS,我更推荐YYYhost韩国VPS和Kdatacenter韩国VPS,线路和性能各方面都要好很多。
YYYHost官网:https://www.YYYHost.com
YYYhost优惠码:KR50OFF,韩国机房终身5折
YYYhost韩国vps,韩国首尔LG机房,KVM虚拟化,无限流量,CN2 GIA线路:
| CPU | 内存 | 硬盘 | 流量 | 带宽 | IPv4 | 价格 | 购买地址 |
| 2核 | 2G | 20GB | 无限流量 | 2Mbps | 1个 | 40元/月 | 点此购买 |
| 4核 | 4G | 40GB | 无限流量 | 4Mbps | 1个 | 60元/月 | 点此购买 |
| 4核 | 8G | 80GB | 无限流量 | 5Mbps | 1个 | 100元/月 | 点此购买 |
| 8核 | 8G | 100GB | 无限流量 | 8Mbps | 2个 | 200元/月 | 点此购买 |
| 8核 | 16G | 160GB | 无限流量 | 10Mbps | 3个 | 280元/月 | 点此购买 |
Kdatacenter韩国VPS
老刘博客
































