最近艾云上新新品美国-纽约Pro机房VPS特价服务器:【艾云】美国-纽约新地区上线,原生解锁Tiktok,双ISP IP,免费20Gbps DDoS防御,喜迎国庆活动!那么这款VPS性能怎么样?站长这里采购了一台进行了测评,来看下VPS的国内延迟、丢包率、性能和带宽、路由去回程、流媒体和TikTok检测。
艾云iaclouds官网:https://iaclouds.com/
艾云优惠码:20221001,使用后该款价格100.1/年,数量有限,先到先得
艾云iaclouds美国纽约机房特价服务器Special配置信息,自带bbr加速,解锁美区TikTok,IO磁盘性能在1570MB/s左右。
继续看下其他流媒体解锁情况:
看看是不是原生IP,通过http://bgp.he.net/测试,结果确为美国原生IP
三网Ping测试,看下国内延迟
speedtest.net国内外节点测速
去程路由追踪测试
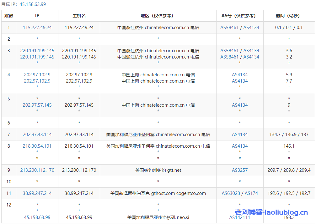
回程路由追踪测试
Traceroute to China, Guangzhou CT (TCP Mode, Max 30 Hop)
============================================================
traceroute to 113.108.209.1 (113.108.209.1), 30 hops max, 32 byte packets
1 45.158.63.1 0.19 ms AS142111 United States, California, Los Angeles, neo.si
2 38.99.247.213 0.23 ms AS63023 United States, New Jersey, Newark, gthost.com, cogentco.com
3 98.124.175.9 7.29 ms AS3257 United States, New Jersey, Newark, gtt.net
4 89.149.129.194 6.73 ms AS3257 United States, New York, New York City, gtt.net
5 218.30.53.81 1.01 ms AS4134 United States, New York, New York City, ChinaTelecom
6 202.97.97.178 62.30 ms AS4134 United States, California, Los Angeles, ChinaTelecom
7 202.97.72.101 211.20 ms AS4134 China, Guangdong, Guangzhou, ChinaTelecom
8 202.97.91.138 216.71 ms AS4134 China, Guangdong, Guangzhou, ChinaTelecom
9 202.97.93.82 218.09 ms AS4134 China, Guangdong, Guangzhou, ChinaTelecom
10 113.96.5.66 224.68 ms AS4134 China, Guangdong, Guangzhou, ChinaTelecom
11 113.108.209.1 217.60 ms AS4134 China, Guangdong, Guangzhou, ChinaTelecom
Traceroute to China, Shanghai CT (TCP Mode, Max 30 Hop)
============================================================
traceroute to 180.153.28.5 (180.153.28.5), 30 hops max, 32 byte packets
1 45.158.63.1 0.10 ms AS142111 United States, California, Los Angeles, neo.si
2 38.99.247.213 0.39 ms AS63023 United States, New Jersey, Newark, gthost.com, cogentco.com
3 98.124.175.9 14.50 ms AS3257 United States, New Jersey, Newark, gtt.net
4 89.149.129.194 0.84 ms AS3257 United States, New York, New York City, gtt.net
5 218.30.53.81 2.25 ms AS4134 United States, New York, New York City, ChinaTelecom
6 202.97.18.61 64.05 ms AS4134 United States, California, Los Angeles, ChinaTelecom
7 202.97.58.173 185.35 ms AS4134 China, Shanghai, ChinaTelecom
8 *
9 *
10 61.152.25.53 204.67 ms AS4812 China, Shanghai, ChinaTelecom
11 101.95.207.242 187.12 ms AS4812 China, Shanghai, ChinaTelecom
12 124.74.232.66 205.50 ms AS4811 China, Shanghai, ChinaTelecom
13 *
14 *
15 *
16 *
17 *
18 *
19 *
20 *
21 *
22 *
23 *
24 *
25 *
26 *
27 *
28 *
29 *
30 *
Traceroute to China, Beijing CT (TCP Mode, Max 30 Hop)
============================================================
traceroute to 180.149.128.9 (180.149.128.9), 30 hops max, 32 byte packets
1 45.158.63.1 0.10 ms AS142111 United States, California, Los Angeles, neo.si
2 38.99.247.213 0.18 ms AS63023 United States, New Jersey, Newark, gthost.com, cogentco.com
3 98.124.175.9 54.15 ms AS3257 United States, New Jersey, Newark, gtt.net
4 89.149.129.194 0.76 ms AS3257 United States, New York, New York City, gtt.net
5 218.30.53.81 1.77 ms AS4134 United States, New York, New York City, ChinaTelecom
6 202.97.18.61 63.56 ms AS4134 United States, California, Los Angeles, ChinaTelecom
7 *
8 *
9 *
10 *
11 *
12 *
13 *
14 *
15 *
16 *
17 *
18 *
19 *
20 *
21 *
22 *
23 *
24 *
25 *
26 *
27 *
28 *
29 *
30 *
Traceroute to China, Guangzhou CU (TCP Mode, Max 30 Hop)
============================================================
traceroute to 210.21.4.130 (210.21.4.130), 30 hops max, 32 byte packets
1 45.158.63.1 0.11 ms AS142111 United States, California, Los Angeles, neo.si
2 38.99.247.213 0.48 ms AS63023 United States, New Jersey, Newark, gthost.com, cogentco.com
3 98.124.175.9 0.45 ms AS3257 United States, New Jersey, Newark, gtt.net
4 89.149.136.149 63.59 ms AS3257 United States, California, San Jose, gtt.net
5 173.205.62.82 65.71 ms AS3257 United States, California, San Jose, gtt.net
6 219.158.6.5 246.35 ms AS4837 China, Shanghai, ChinaUnicom
7 219.158.113.122 243.83 ms AS4837 China, Shanghai, ChinaUnicom
8 219.158.113.105 244.41 ms AS4837 China, Shanghai, ChinaUnicom
9 *
10 112.91.0.246 245.32 ms AS17816 China, Guangdong, Guangzhou, ChinaUnicom
11 120.80.91.66 242.09 ms AS17816 China, Guangdong, Guangzhou, ChinaUnicom
12 *
13 *
14 *
15 *
16 *
17 *
18 *
19 *
20 *
21 *
22 *
23 *
24 *
25 *
26 *
27 *
28 *
29 *
30 *
Traceroute to China, Shanghai CU (TCP Mode, Max 30 Hop)
============================================================
traceroute to 58.247.8.158 (58.247.8.158), 30 hops max, 32 byte packets
1 45.158.63.1 0.17 ms AS142111 United States, California, Los Angeles, neo.si
2 38.99.247.213 0.23 ms AS63023 United States, New Jersey, Newark, gthost.com, cogentco.com
3 98.124.175.9 1.40 ms AS3257 United States, New Jersey, Newark, gtt.net
4 *
5 173.205.56.186 61.40 ms AS3257 United States, California, Los Angeles, gtt.net
6 219.158.17.85 221.29 ms AS4837 China, Guangdong, Guangzhou, ChinaUnicom
7 219.158.4.49 220.92 ms AS4837 China, Guangdong, ChinaUnicom
8 219.158.3.93 213.40 ms AS4837 China, Guangdong, Guangzhou, ChinaUnicom
9 219.158.111.253 240.00 ms AS4837 China, Shanghai, ChinaUnicom
10 *
11 58.247.221.178 241.21 ms AS17621 China, Shanghai, ChinaUnicom
12 139.226.225.22 238.26 ms AS17621 China, Shanghai, ChinaUnicom
13 58.247.8.153 251.75 ms AS17621 China, Shanghai, ChinaUnicom
14 *
15 *
16 *
17 *
18 *
19 *
20 *
21 *
22 *
23 *
24 *
25 *
26 *
27 *
28 *
29 *
30 *
Traceroute to China, Beijing CU (TCP Mode, Max 30 Hop)
============================================================
traceroute to 123.125.99.1 (123.125.99.1), 30 hops max, 32 byte packets
1 45.158.63.1 0.13 ms AS142111 United States, California, Los Angeles, neo.si
2 38.99.247.213 0.29 ms AS63023 United States, New Jersey, Newark, gthost.com, cogentco.com
3 98.124.175.9 0.42 ms AS3257 United States, New Jersey, Newark, gtt.net
4 89.149.140.77 55.55 ms AS3257 United States, California, Los Angeles, gtt.net
5 199.229.231.206 57.84 ms AS3257 GTT.NET 骨干网, gtt.net
6 219.158.97.205 265.71 ms AS4837 China, Guangdong, Guangzhou, ChinaUnicom
7 219.158.20.221 217.89 ms AS4837 China, Guangdong, Guangzhou, ChinaUnicom
8 219.158.8.113 218.87 ms AS4837 China, Guangdong, Guangzhou, ChinaUnicom
9 *
10 *
11 61.51.169.178 250.22 ms AS4808 China, Beijing, ChinaUnicom
12 *
13 *
14 *
15 *
16 *
17 *
18 *
19 *
20 *
21 *
22 *
23 *
24 *
25 *
26 *
27 *
28 *
29 *
30 *
Traceroute to China, Guangzhou CM (TCP Mode, Max 30 Hop)
============================================================
traceroute to 120.196.212.25 (120.196.212.25), 30 hops max, 32 byte packets
1 45.158.63.1 0.10 ms AS142111 United States, California, Los Angeles, neo.si
2 38.99.247.213 0.38 ms AS63023 United States, New Jersey, Newark, gthost.com, cogentco.com
3 38.140.9.201 0.71 ms AS174 United States, New Jersey, Newark, cogentco.com
4 154.54.90.18 0.79 ms AS174 United States, New Jersey, Secaucus, cogentco.com
5 154.54.90.65 1.33 ms AS174 United States, cogentco.com
6 154.54.40.110 11.30 ms AS174 United States, Virginia, Arlington, cogentco.com
7 154.54.7.158 24.60 ms AS174 United States, Georgia, Atlanta, cogentco.com
8 154.54.28.130 36.63 ms AS174 United States, Texas, Houston, cogentco.com
9 154.54.29.222 52.97 ms AS174 COGENTCO.COM 骨干网, cogentco.com
10 154.54.42.77 60.69 ms AS174 United States, Arizona, Phoenix, cogentco.com
11 154.54.44.86 72.20 ms AS174 United States, California, Los Angeles, cogentco.com
12 154.54.27.118 72.10 ms AS174 United States, California, Los Angeles, cogentco.com
13 38.19.140.98 72.41 ms AS174 United States, California, Los Angeles, cogentco.com
14 223.118.10.17 72.49 ms AS58453 United States, California, Los Angeles, ChinaMobile
15 *
16 221.183.25.118 225.65 ms AS9808 China, Guangdong, Guangzhou, ChinaMobile
17 221.176.22.105 274.52 ms AS9808 China, Guangdong, Guangzhou, ChinaMobile
18 111.24.5.193 230.89 ms AS9808 China, Guangdong, Guangzhou, ChinaMobile
19 111.24.5.210 229.93 ms AS9808 China, Guangdong, Guangzhou, ChinaMobile
20 211.136.203.18 231.23 ms AS56040 China, Guangdong, Guangzhou, ChinaMobile
21 211.139.180.110 230.13 ms AS56040 China, Guangdong, Guangzhou, ChinaMobile
22 211.139.180.110 231.07 ms AS56040 China, Guangdong, Guangzhou, ChinaMobile
23 *
24 120.196.212.25 237.21 ms AS56040 China, Guangdong, Guangzhou, ChinaMobile
Traceroute to China, Shanghai CM (TCP Mode, Max 30 Hop)
============================================================
traceroute to 221.183.55.22 (221.183.55.22), 30 hops max, 32 byte packets
1 45.158.63.1 0.13 ms AS142111 United States, California, Los Angeles, neo.si
2 38.99.247.213 0.31 ms AS63023 United States, New Jersey, Newark, gthost.com, cogentco.com
3 38.140.9.201 0.58 ms AS174 United States, New Jersey, Newark, cogentco.com
4 154.54.90.82 1.01 ms AS174 United States, cogentco.com
5 154.54.89.177 1.52 ms AS174 COGENTCO.COM 骨干网, cogentco.com
6 154.54.47.49 13.10 ms AS174 United States, Ohio, Cleveland, cogentco.com
7 154.54.7.129 19.74 ms AS174 United States, Illinois, Chicago, cogentco.com
8 154.54.42.165 31.37 ms AS174 United States, Missouri, Kansas City, cogentco.com
9 154.54.5.89 42.76 ms AS174 United States, Colorado, Denver, cogentco.com
10 154.54.42.97 53.00 ms AS174 United States, Utah, Salt Lake City, cogentco.com
11 154.54.44.141 67.20 ms AS174 United States, California, San Francisco, cogentco.com
12 154.54.43.14 68.66 ms AS174 United States, California, San Jose, cogentco.com
13 38.88.224.162 68.57 ms AS174 United States, California, San Jose, cogentco.com
14 223.120.6.69 68.42 ms AS58453 United States, California, San Jose, ChinaMobile
15 223.120.13.73 251.13 ms AS58453 China, Shanghai, ChinaMobile
16 *
17 *
18 *
19 *
20 *
21 *
22 *
23 *
24 *
25 *
26 *
27 *
28 *
29 *
30 *
Traceroute to China, Beijing CM (TCP Mode, Max 30 Hop)
============================================================
traceroute to 211.136.25.153 (211.136.25.153), 30 hops max, 32 byte packets
1 45.158.63.1 0.09 ms AS142111 United States, California, Los Angeles, neo.si
2 38.99.247.213 0.43 ms AS63023 United States, New Jersey, Newark, gthost.com, cogentco.com
3 98.124.175.9 0.39 ms AS3257 United States, New Jersey, Newark, gtt.net
4 89.149.181.102 56.81 ms AS3257 United States, California, Los Angeles, gtt.net
5 *
6 223.118.10.249 118.75 ms AS58453 United States, California, Los Angeles, ChinaMobile
7 *
8 *
9 221.183.46.254 308.53 ms AS9808 China, Beijing, ChinaMobile
10 221.183.89.114 302.13 ms AS9808 China, Beijing, ChinaMobile
11 *
12 111.24.3.18 253.90 ms AS9808 China, Beijing, ChinaMobile
13 211.136.67.106 295.63 ms AS56048 China, Beijing, ChinaMobile
14 211.136.95.226 368.78 ms AS56048 China, Beijing, ChinaMobile
15 211.136.63.66 254.76 ms AS56048 China, Beijing, ChinaMobile
16 211.136.95.226 310.22 ms AS56048 China, Beijing, ChinaMobile
17 *
18 *
19 *
20 211.136.25.153 316.04 ms AS56048 China, Beijing, ChinaMobile
Traceroute to China, Beijing Dr.Peng Network IDC Network (TCP Mode, Max 30 Hop)
============================================================
traceroute to 211.167.230.100 (211.167.230.100), 30 hops max, 32 byte packets
1 45.158.63.1 0.11 ms AS142111 United States, California, Los Angeles, neo.si
2 38.99.247.213 0.35 ms AS63023 United States, New Jersey, Newark, gthost.com, cogentco.com
3 98.124.175.9 0.98 ms AS3257 United States, New Jersey, Newark, gtt.net
4 89.149.140.77 55.49 ms AS3257 United States, California, Los Angeles, gtt.net
5 199.229.231.210 58.00 ms AS3257 United States, California, Los Angeles, gtt.net
6 219.158.96.233 216.88 ms AS4837 China, Guangdong, Guangzhou, ChinaUnicom
7 219.158.97.26 214.76 ms AS4837 China, Guangdong, Guangzhou, ChinaUnicom
8 *
9 *
10 202.96.12.78 238.54 ms AS4808 China, Beijing, ChinaUnicom
11 61.148.153.190 254.42 ms AS4808 China, Beijing, ChinaUnicom
12 61.149.212.242 241.74 ms AS4808 China, Beijing, ChinaUnicom
13 202.99.1.134 243.10 ms AS4808 China, Beijing, ChinaUnicom
14 218.241.252.14 252.06 ms AS4808 China, Beijing, DRPENG
15 218.241.253.130 244.46 ms AS4808 China, Beijing, DRPENG
16 211.167.230.100 236.84 ms AS17964 China, Beijing, DRPENG
----------------------------------------------------------------------------------
老刘博客



































