标准互联,一家国内的云服务器提供商, 老刘博客在之前的文章中也有介绍过几次他们家的云服务器产品。这个月有看到他们家有新增洛杉矶CN2云服务器,Hyper-V虚拟化、SSD固态硬盘,且配置上还是比较高的,4核、4G内存起步、30M带宽,这里我们有开通一台测试机体验实际的性能。
第一、基本配置信息
- CPU:4核
- 内存:4GB
- 硬盘:50GB
- 流量:不限制
- 带宽:30Mbps
- IP数:1 IP
- 价格:90元/月(洛杉矶CN2)
- CPU:8核
- 内存:4GB
- 硬盘:130GB
- 流量:不限制
- 带宽:40Mbps
- IP数:1 IP
- 价格:120元/月(洛杉矶CN2)
我们可以看到标准互联商家有提供的云服务器产品还是比较多的,机房覆盖中国大陆、中国香港、美国弹性云服务器、裸金属服务器、高防服务器等。
第二、洛杉矶CN2云服务器测试
官方测试IP:213.232.105.10
第三、洛杉矶CN2服务器综合评测
在这里,老刘有体验一台洛杉矶CN2服务器的性能,通过数据记录如下。
1、PING速度测试
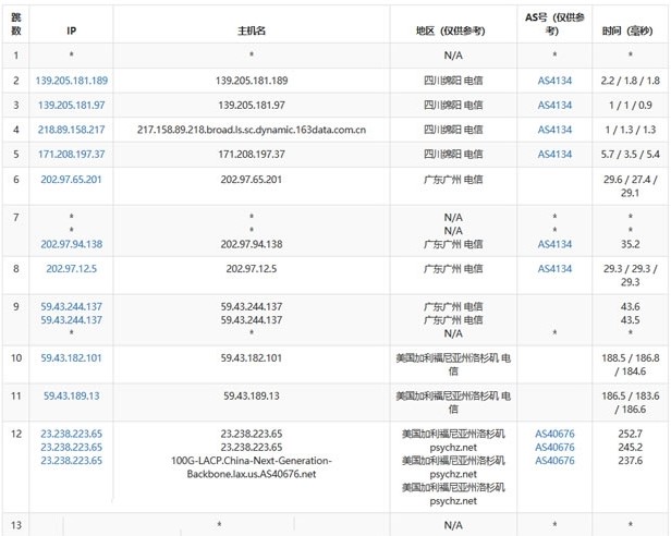
2、随机电信节点去程
3、配置信息
4、IO读写能力
5、三网节点下载上传测速
总结,以上是标准互联美国洛杉矶CN2云服务器的测试性能。
老刘博客






























