老刘博客昨天听说UCloud上线了洛杉矶可用区快杰型云服务器,于是就跑去测评了下。注意到洛杉矶快杰云主机分为intel快杰S型OS云服务器和AMD快杰型O云服务器,这里是UCloud洛杉矶AMD快杰型O云服务器最低配置(1核1G内存1M带宽40G系统盘)测评结果,供网友们参考。(昨天测评,今天整理)
控制台机器配置信息
镜像是CentOS 7.6 64位,1核心,1G内存,40G系统盘,无数据盘(UCloud支持免费送40G以内的系统盘),外网IP是107.150.97.196。
配置信息和上述控制台信息一致,IO性能,依然维持着UCloud永恒的78MB/s。
美国,加拿大平均Ping值70ms以内,国内165-260ms之间。
首先国内节点测速,上传1Mbps,下载60Mbps左右,符合官方说法。
全球节点测速,我们看到各节点上传速度在6MiB/s,下载在50Mbps,延迟方面北美最低,两位数以内。
## CDN Speedtest CacheFly : 8.77 MiB/s | 70.19 Mbps | ping 0.987ms Gdrive : 10.37 KiB/s | 0.08 Mbps | ping 0.906ms ## North America Speedtest Softlayer, Washington, USA : 3.35 MiB/s | 26.83 Mbps | ping 61.527ms SoftLayer, San Jose, USA : 8.43 MiB/s | 67.46 Mbps | ping 10.288ms SoftLayer, Dallas, USA : 0 B/s | N/A | ping error! Vultr, New Jersey, USA : 7.95 MiB/s | 63.60 Mbps | ping 58.349ms Vultr, Chicago, USA : 6.22 MiB/s | 49.73 Mbps | ping 43.473ms Vultr, Atlanta, USA : 6.01 MiB/s | 48.06 Mbps | ping 47.207ms Vultr, Miami, USA : 6.18 MiB/s | 49.48 Mbps | ping 62.533ms Vultr, Dallas, USA : 1.94 MiB/s | 15.53 Mbps | ping 33.012ms Vultr, Seattle, USA : 8.44 MiB/s | 67.54 Mbps | ping 30.011ms Vultr, Los Angeles, USA : 5.97 MiB/s | 47.76 Mbps | ping 0.745ms Vultr, Silicon Valley, USA : 5.96 MiB/s | 47.69 Mbps | ping 10.910ms Vultr, New York, USA : 5.81 MiB/s | 46.47 Mbps | ping 57.928ms Linode, fremont, USA : 6.29 MiB/s | 50.33 Mbps | ping 8.166ms Linode, atlanta, USA : 5.66 MiB/s | 45.25 Mbps | ping 48.901ms Linode, dallas, USA : 6.08 MiB/s | 48.63 Mbps | ping 30.400ms Linode, newark, USA : 6.07 MiB/s | 48.58 Mbps | ping 57.260ms Linode, toronto, Canada : 5.95 MiB/s | 47.58 Mbps | ping 60.147ms Ramnode, New York, USA : 5.77 MiB/s | 46.17 Mbps | ping 58.643ms Ramnode, Atlanta, USA : 5.78 MiB/s | 46.23 Mbps | ping 47.027ms OVH, Beauharnois, Canada : 0 B/s | N/A | ping 68.494ms Vultr, Toronto, Canada : 7.98 MiB/s | 63.85 Mbps | ping 65.772ms ## Europe Speedtest Vultr, London, UK : 5.66 MiB/s | 45.31 Mbps | ping 133.491ms Vultr, Frankfurt, DE : 5.77 MiB/s | 46.17 Mbps | ping 143.346ms Vultr, Paris, France : 5.46 MiB/s | 43.66 Mbps | ping 131.329ms Vultr, Amsterdam, NL : 6.11 MiB/s | 48.85 Mbps | ping 139.796ms Vultr, London, UK : 5.87 MiB/s | 46.97 Mbps | ping 133.461ms Linode, london, UK : 5.74 MiB/s | 45.94 Mbps | ping 126.305ms Linode, frankfurt, DE : 5.86 MiB/s | 46.91 Mbps | ping 144.419ms Linode, frankfurt, DE : 5.93 MiB/s | 47.44 Mbps | ping 144.183ms LeaseWeb, Frankfurt, Germany : 5.99 MiB/s | 47.94 Mbps | ping 143.949ms Hetzner, Germany : 2.50 MiB/s | 19.97 Mbps | ping 150.359ms Ramnode, Alblasserdam, NL : 0 B/s | N/A | ping error! EDIS, Stockholm, Sweden : 316 B/s | N/A | ping 166.833ms OVH, Roubaix, France : 6.23 MiB/s | 49.82 Mbps | ping 141.813ms Online, France : 6.46 MiB/s | 51.65 Mbps | ping 141.037ms Prometeus, Milan, Italy : 621 B/s | N/A | ping 148.011ms ## Exotic Speedtest Vultr, Sydney, Australia : 6.50 MiB/s | 51.97 Mbps | ping 165.531ms Linode, Sydney, Australia : 5.80 MiB/s | 46.41 Mbps | ping 157.794ms Sydney, Australia : 5.48 MiB/s | 43.87 Mbps | ping 165.380ms Lagoon, New Caledonia : 225 B/s | N/A | ping 179.483ms Hosteasy, Moldova : 2.65 MiB/s | 21.16 Mbps | ping 181.568ms Prima, Argentina : 264.85 KiB/s | 2.07 Mbps | ping error! ## Asia Speedtest SoftLayer, Singapore : 76.51 KiB/s | 0.60 Mbps | ping 184.504ms Linode, Tokyo, Japan : 7.65 MiB/s | 61.23 Mbps | ping 108.876ms Linode, Singapore : 5.79 MiB/s | 46.30 Mbps | ping 191.923ms Linode, mumbai1, India : 5.17 MiB/s | 41.35 Mbps | ping 235.289ms Vultr, Tokyo, Japan : 6.43 MiB/s | 51.44 Mbps | ping 113.524ms Vultr, Seoul : 5.83 MiB/s | 46.63 Mbps | ping 163.776ms Vultr, Singapore : 5.66 MiB/s | 45.29 Mbps | ping 185.203ms
深圳/北京节点有掉包7-17%之间,有点大,毕竟海外节点,正常情况。
各供应商走和去程一致路线
---------------------------------------------------------------------- 广州电信 traceroute to 14.215.116.1 (14.215.116.1), 30 hops max, 32 byte packets 1 * 2 172.25.65.131 1.13 ms * LAN Address 3 172.25.17.7 7.15 ms * LAN Address 4 104.254.114.22 6.91 ms * United States, California, Los Angeles, zenlayer.com 5 192.254.84.194 2.34 ms AS21859 United States, California, Los Angeles, zenlayer.com 6 192.254.81.3 1.57 ms AS21859 United States, California, Los Angeles, zenlayer.com 7 218.30.53.133 2.62 ms AS4134 United States, California, Los Angeles, ChinaTelecom 8 202.97.50.21 3.68 ms AS4134 China, ChinaTelecom 9 202.97.72.101 159.19 ms * China, ChinaTelecom 10 202.97.12.18 153.31 ms AS4134 China, ChinaTelecom 11 202.97.94.125 172.07 ms AS4134 China, ChinaTelecom 12 113.96.4.154 164.52 ms AS58466 China, Guangdong, Guangzhou, ChinaTelecom 13 183.60.112.14 157.88 ms AS58466 China, Guangdong, Guangzhou, ChinaTelecom 14 183.56.128.10 169.63 ms AS58466 China, Guangdong, Guangzhou, ChinaTelecom 15 14.215.116.1 159.53 ms AS58466 China, Guangdong, Guangzhou, ChinaTelecom ---------------------------------------------------------------------- 上海电信 traceroute to 101.95.120.109 (101.95.120.109), 30 hops max, 32 byte packets 1 * 2 172.25.65.8 0.73 ms * LAN Address 3 172.25.17.1 6.66 ms * LAN Address 4 104.254.114.20 7.79 ms * United States, California, Los Angeles, zenlayer.com 5 192.254.84.192 2.79 ms AS21859 United States, California, Los Angeles, zenlayer.com 6 192.254.84.19 1.06 ms AS21859 United States, California, Los Angeles, zenlayer.com 7 218.30.53.133 8.08 ms AS4134 United States, California, Los Angeles, ChinaTelecom 8 202.97.83.229 3.04 ms AS4134 China, ChinaTelecom 9 202.97.89.141 168.58 ms AS4134 China, ChinaTelecom 10 202.97.74.34 183.92 ms * China, ChinaTelecom 11 202.97.57.230 167.79 ms AS4134 China, ChinaTelecom 12 101.95.88.1 159.97 ms AS4812 China, Shanghai, ChinaTelecom 13 101.95.120.109 184.64 ms AS4812 China, Shanghai, ChinaTelecom ---------------------------------------------------------------------- 厦门电信 traceroute to 117.28.254.129 (117.28.254.129), 30 hops max, 32 byte packets 1 * 2 172.25.65.131 0.57 ms * LAN Address 3 172.25.17.1 7.22 ms * LAN Address 4 128.14.158.33 602.86 ms AS21859 United States, California, Los Angeles, zenlayer.com 5 192.254.84.16 1.57 ms AS21859 United States, California, Los Angeles, zenlayer.com 6 192.254.81.27 5.63 ms AS21859 United States, California, Los Angeles, zenlayer.com 7 1-2-2.ear3.LosAngeles1.Level3.net (4.15.163.233) 1.96 ms AS3356,AS3549 United States, California, Los Angeles, level3.com 8 * 9 CHINA-TELEC.ear2.LosAngeles1.Level3.net (4.71.136.202) 2.28 ms AS3356,AS3549 United States, California, Los Angeles, level3.com 10 59.43.189.41 159.07 ms * China, ChinaTelecom 11 59.43.187.121 160.83 ms * China, ChinaTelecom 12 59.43.130.157 166.43 ms * China, ChinaTelecom 13 59.43.143.2 184.29 ms * China, ChinaTelecom 14 * 15 27.159.81.206 185.15 ms AS133775 China, Fujian, Xiamen, ChinaTelecom 16 117.25.141.106 167.14 ms AS133775 China, Fujian, Xiamen, ChinaTelecom 17 117.28.254.129 189.68 ms AS4809 China, Fujian, Xiamen, ChinaTelecom ---------------------------------------------------------------------- 重庆联通 traceroute to 113.207.25.138 (113.207.25.138), 30 hops max, 32 byte packets 1 * 2 172.25.65.131 0.31 ms * LAN Address 3 172.25.17.1 5.90 ms * LAN Address 4 128.14.158.33 1002.71 ms AS21859 United States, California, Los Angeles, zenlayer.com 5 192.254.84.16 1.08 ms AS21859 United States, California, Los Angeles, zenlayer.com 6 192.254.81.27 1.19 ms AS21859 United States, California, Los Angeles, zenlayer.com 7 219.158.45.181 7.54 ms AS4837 China, ChinaUnicom 8 219.158.97.209 162.38 ms AS4837 China, ChinaUnicom 9 219.158.97.26 156.50 ms AS4837 China, ChinaUnicom 10 219.158.24.125 162.17 ms AS4837 China, ChinaUnicom 11 219.158.22.74 186.93 ms AS4837 China, ChinaUnicom 12 113.207.25.138 181.68 ms AS4837 China, Chongqing, ChinaUnicom ---------------------------------------------------------------------- 成都联通 traceroute to 119.6.6.6 (119.6.6.6), 30 hops max, 32 byte packets 1 * 2 172.25.65.131 0.34 ms * LAN Address 3 172.25.17.7 5.01 ms * LAN Address 4 104.254.114.22 5.87 ms * United States, California, Los Angeles, zenlayer.com 5 192.254.84.194 1.40 ms AS21859 United States, California, Los Angeles, zenlayer.com 6 192.254.81.31 0.75 ms AS21859 United States, California, Los Angeles, zenlayer.com 7 219.158.45.181 6.07 ms AS4837 China, ChinaUnicom 8 219.158.97.209 160.71 ms AS4837 China, ChinaUnicom 9 219.158.96.206 167.27 ms AS4837 China, ChinaUnicom 10 219.158.8.121 162.21 ms AS4837 China, ChinaUnicom 11 219.158.102.186 199.86 ms AS4837 China, ChinaUnicom 12 119.6.197.198 196.90 ms AS4837 China, Sichuan, Chengdu, ChinaUnicom 13 119.7.220.218 190.99 ms AS4837 China, Sichuan, Chengdu, ChinaUnicom 14 119.6.6.6 194.89 ms AS4837 China, Sichuan, Chengdu, ChinaUnicom ---------------------------------------------------------------------- 上海移动 traceroute to 120.204.197.126 (120.204.197.126), 30 hops max, 32 byte packets 1 * 2 172.25.65.8 0.47 ms * LAN Address 3 172.25.17.1 6.47 ms * LAN Address 4 128.14.158.33 808.73 ms AS21859 United States, California, Los Angeles, zenlayer.com 5 192.254.84.16 1.32 ms AS21859 United States, California, Los Angeles, zenlayer.com 6 192.254.81.49 0.96 ms AS21859 United States, California, Los Angeles, zenlayer.com 7 223.119.66.113 0.96 ms AS58453 China, Hong Kong, ChinaMobile 8 223.120.6.17 1.15 ms AS58453 China, ChinaMobile 9 223.120.13.46 182.41 ms AS58453 China, ChinaMobile 10 221.183.55.26 183.80 ms AS9808 China, ChinaMobile 11 221.176.22.205 183.40 ms AS9808 China, ChinaMobile 12 221.176.22.13 185.25 ms AS9808 China, ChinaMobile 13 * 14 117.143.13.66 186.63 ms AS24400 China, Shanghai, ChinaMobile 15 120.204.194.10 188.81 ms AS24400 China, Shanghai, ChinaMobile 16 120.204.197.126 182.37 ms AS24400 China, Shanghai, ChinaMobile ---------------------------------------------------------------------- 成都移动 traceroute to 183.221.253.100 (183.221.253.100), 30 hops max, 32 byte packets 1 * 2 172.25.65.131 0.87 ms * LAN Address 3 172.25.17.7 10.02 ms * LAN Address 4 104.254.114.22 6.59 ms * United States, California, Los Angeles, zenlayer.com 5 192.254.84.194 1.29 ms AS21859 United States, California, Los Angeles, zenlayer.com 6 223.119.66.113 1.13 ms AS58453 China, Hong Kong, ChinaMobile 7 223.120.6.22 0.92 ms AS58453 China, ChinaMobile 8 223.120.12.42 154.64 ms AS58453 China, ChinaMobile 9 221.183.55.58 162.22 ms AS9808 China, ChinaMobile 10 221.183.52.89 160.72 ms AS9808 China, ChinaMobile 11 221.176.22.105 155.48 ms AS9808 China, ChinaMobile 12 221.183.22.34 156.15 ms AS9808 China, ChinaMobile 13 221.183.11.74 158.59 ms AS9808 China, ChinaMobile 14 117.134.42.122 163.70 ms AS9808 China, Guangdong, Guangzhou, ChinaMobile 15 183.221.253.100 162.64 ms AS9808 China, Sichuan, Chengdu, ChinaMobile ---------------------------------------------------------------------- 成都教育网 traceroute to 202.112.14.151 (202.112.14.151), 30 hops max, 32 byte packets 1 * 2 172.25.65.131 0.43 ms * LAN Address 3 172.25.17.1 6.29 ms * LAN Address 4 128.14.158.33 918.75 ms AS21859 United States, California, Los Angeles, zenlayer.com 5 192.254.84.16 1.66 ms AS21859 United States, California, Los Angeles, zenlayer.com 6 192.254.81.27 1.35 ms AS21859 United States, California, Los Angeles, zenlayer.com 7 ix-hge-0-0-0-0.ecore1.lvw-losangeles.as6453.net (64.86.197.200) 1.23 ms AS6453 United States, California, Los Angeles, tatacommunications.com 8 if-ae-45-2.tcore1.lvw-losangeles.as6453.net (64.86.197.56) 0.98 ms AS6453 United States, California, Los Angeles, tatacommunications.com 9 66.110.59.182 4.79 ms AS6453 United States, California, Los Angeles, tatacommunications.com 10 101.4.117.213 146.66 ms Limit Exceeded! (frk@ipip.net) 11 101.4.117.101 147.06 ms Limit Exceeded! (frk@ipip.net) 12 101.4.114.170 153.98 ms Limit Exceeded! (frk@ipip.net) 13 101.4.112.14 161.70 ms Limit Exceeded! (frk@ipip.net) 14 101.4.112.18 173.79 ms Limit Exceeded! (frk@ipip.net) 15 101.4.116.158 181.17 ms Limit Exceeded! (frk@ipip.net) 16 202.115.255.2 1116.97 ms Limit Exceeded! (frk@ipip.net) 17 202.115.254.246 214.25 ms Limit Exceeded! (frk@ipip.net) 18 * 19 202.112.14.151 198.07 ms Limit Exceeded! (frk@ipip.net) ----------------------------------------------------------------------
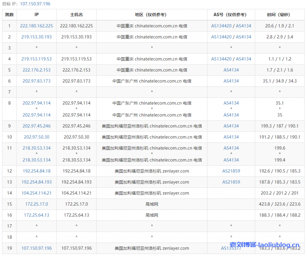
路由往返都是走各自供应商骨干线路,如果看性价比(毕竟比香港机器便宜啊),即使用户在国内,选这台洛杉矶机器还是可以的。
总体来看,UCloud洛杉矶intel快杰S型OS云服务器和AMD快杰型O云服务器性能差别不大,不过价格上前者年付1090元,后者850元,可以入手AMD版的。前往选购>>
老刘博客

































